
网站首页 > 专利信息
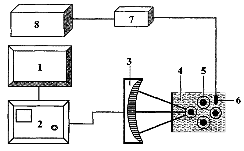
本发明公开了一种聚焦超声-聚合物胶束可控药物释放装置及其释放方法。其特点是该装置由聚焦超声系统和载药聚合物胶束体系组成,聚焦超声系统由信号发生器(1)通过功率放大器(2)与聚焦超声换能器(3)连接,载药聚合物胶束体系由两亲性嵌段共聚物和药物形成的复合胶束(5)和介质(4)组成,载药聚合物胶束内设传感器(6),传感器通过信号处理器(7)与计算机(8)连接。聚焦超声-聚合物胶束可控药物释放方法是通过透析法或溶剂蒸发法制备载药聚合物胶束,在超声辐照下,聚合物胶束通过物理或化学变化对超声进行响应,使负载的疏水性药物从胶束中释放出来,进入病灶部位。
联系电话:028-87659663 028-85404682 028-85460925 邮箱:cdjz617@126.com
办公地址:四川省成都市武侯区科华街10号四川大学国家高新技术孵化平台609
成都川大技术转移集团有限公司
蜀ICP备11025552号-1
Copyright © 2007-2011 技术支持:成都网络公司-三以网络