
网站首页 > 专利信息
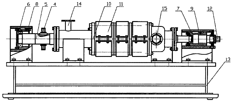
本实用新型公开了一种多级圆锥式强剪切分散混炼器,其特点是该混炼器包括电机(1)、减速器(2),传动齿轮(3、4)、主轴(5)、轴承系统I(6)、轴承系统II(7)、滑座I(8)、滑座II(9)、混炼系统(10)、加热圈(11)、调距系统(12)、机架(13)、进料口(14)和出料口(15);电机(1)和减速箱(2)固定在机架(13)上,电机(1)和减速箱(2)通过啮合齿轮(3、4)与主轴(5)连接;主轴(5)左端与轴承系统I(6)连接,中端与混炼系统(10)连接,右端与轴承系统II(7)连接;轴承系统I(6)和轴承系统II(7)分别设于滑座I(8)和滑座II(9)内;混炼系统(10)外表面设有加热圈(11);调距系统(12)固定于滑座II(9)右端。与现有技术相比,本实用新型采用了全新的剪切分散方式,混合均匀、性能稳定、操作方便。
联系电话:028-87659663 028-85404682 028-85460925 邮箱:cdjz617@126.com
办公地址:四川省成都市武侯区科华街10号四川大学国家高新技术孵化平台609
成都川大技术转移集团有限公司
蜀ICP备11025552号-1
Copyright © 2007-2011 技术支持:成都网络公司-三以网络