
网站首页 > 专利信息
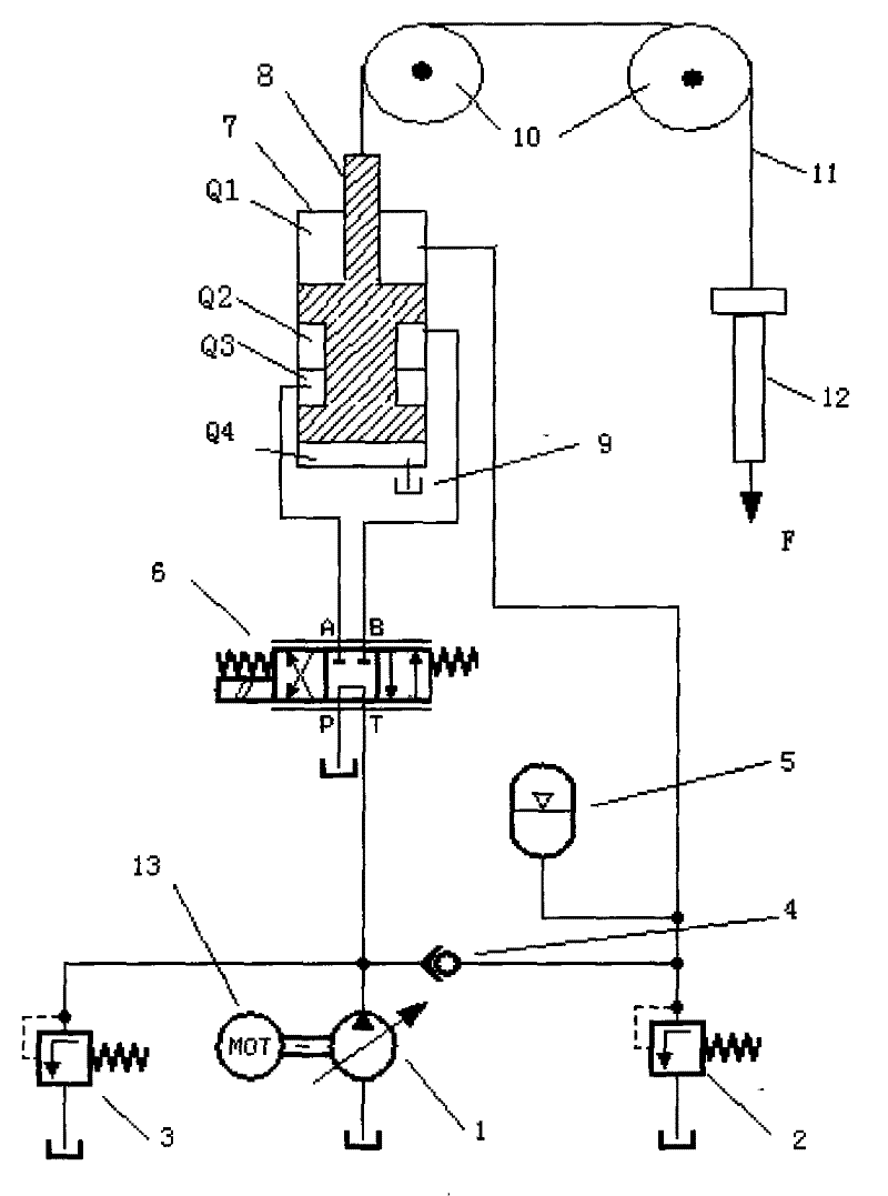
本发明涉及一种新型节能液压抽油机,包括液压泵1、溢流阀2、溢流阀3、单向阀4、蓄能器5、电液换向阀6、复合缸7、活塞杆8、油箱9、滑轮10、绳索11、抽油杆12和电动机13等部分。本发明采用液压驱动系统和蓄能器平衡系统,在下行程时利用蓄能器5可以收集抽油杆12系统释放出来的重力势能和存储电动机13的能量,在上行程时释放出来,可以有效的降低电动机的装机功率和减小电动机的转速波动,达到节能效果。而且具有常规液压抽油机举升力大、重量轻、冲程长度和冲次调节方便等优点。
联系电话:028-87659663 028-85404682 028-85460925 邮箱:cdjz617@126.com
办公地址:四川省成都市武侯区科华街10号四川大学国家高新技术孵化平台609
成都川大技术转移集团有限公司
蜀ICP备11025552号-1
Copyright © 2007-2011 技术支持:成都网络公司-三以网络