
网站首页 > 专利信息
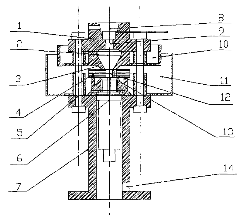
本实用新型公开了一种便携式高压及气水合物实验装置,其特点是该装置包括上、下底座(1,7),上、下顶砧(3,13)和封垫(4),将蓝宝石(2)套入上顶砧(3)中,并粘接在上底座(1)的中心孔处,摄像头(9)安装在上底座(1)的可视实验窗(8)中,上升降温槽(10)与上顶砧(3)加工为一体;下顶砧(13)中心开设螺纹口,将压力传感器(6)安装在螺纹口中,并粘接在下底座(7)上,下升降温槽(11)与下底座加工为一体;将聚四氟乙烯加工为带孔的两圆片(17),热电偶(16)安装圆片孔中,两个聚四氟乙烯圆片和铜环片(16)互相套合后,在其空隙处填满聚四氟乙烯密封带,经预压成型为封垫(4),然后将封垫放入下底座上,样品装在封垫的样品腔(12)内,再将上顶砧压上,用固定定位螺杆螺母(5)连接成整体。
联系电话:028-87659663 028-85404682 028-85460925 邮箱:cdjz617@126.com
办公地址:四川省成都市武侯区科华街10号四川大学国家高新技术孵化平台609
成都川大技术转移集团有限公司
蜀ICP备11025552号-1
Copyright © 2007-2011 技术支持:成都网络公司-三以网络