
网站首页 > 专利信息
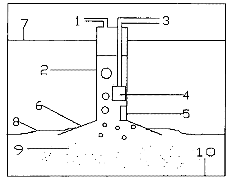
本发明公开了一种海底天然气水合物开采装置及其开采方法,其特点是该装置由空心刚体(2)直接与海底(10)的天然气水合物层(9)连通;或者空心刚体通过泥沙层(8)或不渗透层(11)与海底(10)的天然气水合物层连通;空心刚体内的一侧设有水泵(4)和测试监控装置(5),水泵通过导管与海平面(7)上的排水管口(3)连接,测试监控装置与摄像系统和测压系统连接,空心刚体内的上端设气体收集管口(1)。开采方法包括以下步骤:1)在海上建一个与海水分离的空心刚体,空心刚体与海底天然天水合物层连通;2)通过水泵向空心刚体外排水降低空心刚体内的水面高度,使天然天水合物层所受的压力减小,当天然气水合物层受到的压力小于其平衡压力时,天然气水合物就开始分解成天然气和水;3)分解后的天然气上逸,从气体收集管口排出、收集。
联系电话:028-87659663 028-85404682 028-85460925 邮箱:cdjz617@126.com
办公地址:四川省成都市武侯区科华街10号四川大学国家高新技术孵化平台609
成都川大技术转移集团有限公司
蜀ICP备11025552号-1
Copyright © 2007-2011 技术支持:成都网络公司-三以网络