
网站首页 > 专利信息
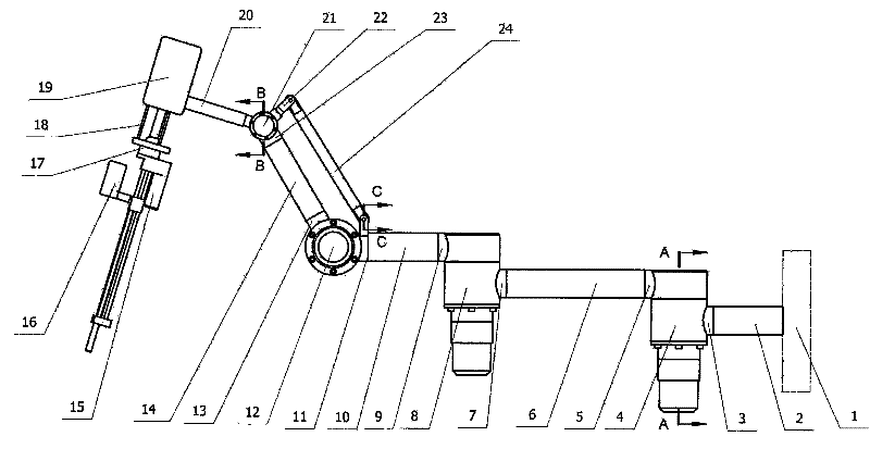
本发明公开了一种手术机器人手臂,该手术机器人手臂依次由手术刀进给机构、手腕关节、平行四边形机构、小臂一转动机构和大臂转动机构连接构成。手术刀进给机构(15)包括丝杠(43)、电动机减速器(44)、电动机二(45)、滑块(46)、两根圆形导轨(47)和连接支架(48);手腕关节包括球碗(17)、三根驱动连杆(18)和手腕关节驱动器(19);平行四边形机构包括转轴套(38)、驱动臂(14)、平行四边行连杆一(22)、平行四边行连杆二(24)、连杆支座(11)和平行四边形转动关节(12);小臂一转动机构包括小臂一(10)和小臂一转动关节(8);大臂转动机构包括大臂(9)和大臂转动关节(4);小臂一、大臂为圆形空心管件;平行四边形转动关节、小臂一转动关节、大臂转动关节结构相同。
联系电话:028-87659663 028-85404682 028-85460925 邮箱:cdjz617@126.com
办公地址:四川省成都市武侯区科华街10号四川大学国家高新技术孵化平台609
成都川大技术转移集团有限公司
蜀ICP备11025552号-1
Copyright © 2007-2011 技术支持:成都网络公司-三以网络