
网站首页 > 专利信息
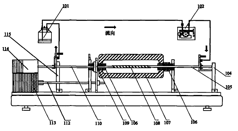
一种血管组织工程反应器,包括血管内灌注回路(101,102,105,110);血管组织培养腔(107);培养腔旋转驱动电机(113),其转动驱动力被传递给培养腔(107)而使培养腔旋转;血管往复拉伸驱动装置(114),血管往复拉伸驱动装置(114)的往复驱动力作用在设置在所述内灌注回路培养腔出口管路(110)与进口管路(105)之间的血管组织(108)上,从而使血管组织(108)受到轴向往复拉伸作用。借助本发明,可以同时实现:血管内培养液灌注、血管外培养液灌注、培养腔的转动、培养中的血管沿轴向的往复拉伸、培养中的血管组织内的营养液脉动,以及它们的任何组合。

联系电话:028-87659663 028-85404682 028-85460925 邮箱:cdjz617@126.com
办公地址:四川省成都市武侯区科华街10号四川大学国家高新技术孵化平台609
成都川大技术转移集团有限公司
蜀ICP备11025552号-1
Copyright © 2007-2011 技术支持:成都网络公司-三以网络