
网站首页 > 专利信息
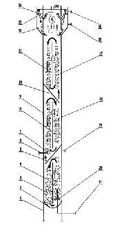
本发明公开了一种一体式多级内循环硝化-反硝化生物脱氮流化床反应器,其构成为,敞口结构的壳体空间从下至上依次设计为由缺氧区、高浓度好氧区、低浓度好氧区构成的流化反应区和三相分离区,相邻区间相互连通。其中流化反应区的缺氧区、高浓度好氧区和低浓度好氧区由两个设置在反应区筒体上的区间隔板相互分隔形成,且每个流化反应区均设计有使本区间水流形成区间内循环的循环隔板,运行时填充多孔聚合物高分子载体。三相分离区由分离区筒体、位于筒体内的上下分离筒和位于筒体与分离筒之间的出水堰构成,达标净化水由出水堰排出,脱除气体由敞口排入大气。本发明具有整体结构紧凑,占地面积小,工艺流程简单,工程投资省,运行费用低等诸多优点。

联系电话:028-87659663 028-85404682 028-85460925 邮箱:cdjz617@126.com
办公地址:四川省成都市武侯区科华街10号四川大学国家高新技术孵化平台609
成都川大技术转移集团有限公司
蜀ICP备11025552号-1
Copyright © 2007-2011 技术支持:成都网络公司-三以网络