
网站首页 > 专利信息
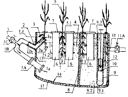
人工湿地生活污水处理方法及系统。属污水和泥渣的处理类。解决现有人工湿地生物膜堵塞、寿命短的问题。开挖池体,其内填充砂土和种植植物,池体下方装进水单向阀,污水从此进入池体并向上渗透,使植物根系、砂土和污水形成含生物膜的砂洲生态系统,通过生物膜将污水净化。生物膜形成的硬壳用L型管自动浇灌、软化、下沉和污水的浮渣一同通过竖直排渣管和其内的排渣单向阀,用机械或人工产生气压差将渣方便的吸出。同时利用L型水管的溢流作用,自动开闭进水单向阀。L型水管也可方便为农民提供浇灌农田的粪水。为防止含生物膜的砂洲生态系统内产生浓沼气引发爆炸,在该处设竖井和活动盖,人可以进去检测,保证安全运行。适合生活污水的处理。

联系电话:028-87659663 028-85404682 028-85460925 邮箱:cdjz617@126.com
办公地址:四川省成都市武侯区科华街10号四川大学国家高新技术孵化平台609
成都川大技术转移集团有限公司
蜀ICP备11025552号-1
Copyright © 2007-2011 技术支持:成都网络公司-三以网络