
网站首页 > 专利信息
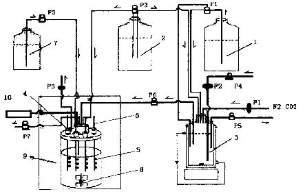
一种口腔生物膜动态模型装置,含有碱液罐(1)、培养基罐(2)、发酵罐(3)、恒流培养室(4)和加样瓶(7)。其特征在于恒流培养室(4)为多个竖式标准圆柱形恒流培养室串联连接,碱液罐(1)通过蠕动泵P1与发酵罐(3)连接,培养基罐(2)通过蠕动泵P2与发酵罐(3)连接,发酵罐(3)通过过滤器F2和蠕动泵P4引入惰性气体N2和CO2,发酵罐(3)通过蠕动泵P5和过滤器F1向外排出废液、废气,发酵罐(3)通过蠕动泵P6和恒流培养室(4)连接,每个恒流培养室(4)通过蠕动泵P7和过滤器F3向外排出废液、废气,培养基罐(2)和加样瓶(7)分别通过蠕动泵P2、P3与多个恒流培养室(4)并联连接。

联系电话:028-87659663 028-85404682 028-85460925 邮箱:cdjz617@126.com
办公地址:四川省成都市武侯区科华街10号四川大学国家高新技术孵化平台609
成都川大技术转移集团有限公司
蜀ICP备11025552号-1
Copyright © 2007-2011 技术支持:成都网络公司-三以网络