
网站首页 > 专利信息
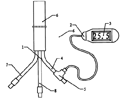
本实用新型公开了一种腹腔压力动态监测装置,具有测压准确、使用方便的特点。该装置包括设置有灌注通道的尿管、压力传感器和压力显示装置,压力传感器通过管道与尿管上的灌注通道连通,压力传感器的输出端与压力显示装置电连接。该装置结构简单、操作方便,同时也不需要占用心电监护测血压的资源,可在进行腹内压力动态监测的同时利用心电监护仪进行血压监测。另外,由于该装置专门为腹内压力监测而制作,其压力测定范围是根据腹内压力的范围而设计的,因此测压准确,系统测定误差小,可广泛的用于需要对患者的腹内压力进行动态监测的场合。

联系电话:028-87659663 028-85404682 028-85460925 邮箱:cdjz617@126.com
办公地址:四川省成都市武侯区科华街10号四川大学国家高新技术孵化平台609
成都川大技术转移集团有限公司
蜀ICP备11025552号-1
Copyright © 2007-2011 技术支持:成都网络公司-三以网络