
网站首页 > 专利信息
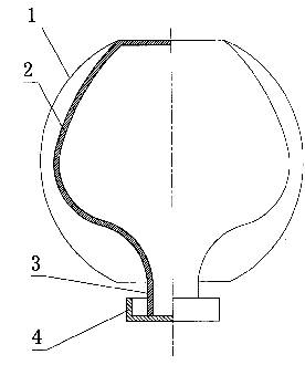
一种易翻转倒坛,在倒坛某一经线两侧制作两道外缘为圆弧的凸棱,凸棱的一端与坛底面相平,凸棱的另一端终止于坛颈中部,本发明能使倒坛的翻转轻松自如,既避免了繁重的体力劳动,有能使倒坛的制作尺寸可以大幅度增加,从而降低了倒坛单位容积的制造成本和占地面积。

联系电话:028-87659663 028-85404682 028-85460925 邮箱:cdjz617@126.com
办公地址:四川省成都市武侯区科华街10号四川大学国家高新技术孵化平台609
成都川大技术转移集团有限公司
蜀ICP备11025552号-1
Copyright © 2007-2011 技术支持:成都网络公司-三以网络