
网站首页 > 专利信息
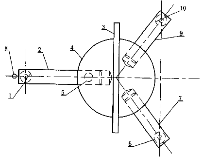
一种防摔式反射像易得光杠杆,通过在圆板基座开槽,并将光杠杆的三足分别沿圆板基座的半径自基座侧壁进入基座,并在后足端部设置套环,使光杠杆的后足既能方便地伸缩,又能实现自动自锁,还彻底消除了光杠杆翻落摔坏的危险。

联系电话:028-87659663 028-85404682 028-85460925 邮箱:cdjz617@126.com
办公地址:四川省成都市武侯区科华街10号四川大学国家高新技术孵化平台609
成都川大技术转移集团有限公司
蜀ICP备11025552号-1
Copyright © 2007-2011 技术支持:成都网络公司-三以网络