
网站首页 > 专利信息
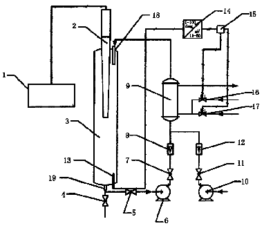
本发明涉及一种利用超声波促进化学反应的管式循环超声波化学反应装置。它包括超声波发生器,反应器,变幅杆,按照本发明,该装置将反应器设计为圆管式反应器,还包括由调节阀,物料泵,流量计及管式换热器组成的物料循环管路系统;以及由温度传感器,温控仪,双向电磁继电器,电磁阀及管式换热器组成的温控系统。本发明不仅具有反应器内超声振幅大、使反应物料能均匀地受到超声辐射,空化气泡多;而且管式换热器能快速切换到加热或冷却状态,尤其大大改善了粘稠物料传热效果;本发明利用物料循环泵及进料泵结合反应器及调节阀可使反应器具有平推流、循环流及间歇反应三种模式,因而可广泛用于超声作用下的各种化学反应。
联系电话:028-87659663 028-85404682 028-85460925 邮箱:cdjz617@126.com
办公地址:四川省成都市武侯区科华街10号四川大学国家高新技术孵化平台609
成都川大技术转移集团有限公司
蜀ICP备11025552号-1
Copyright © 2007-2011 技术支持:成都网络公司-三以网络