
网站首页 > 专利信息
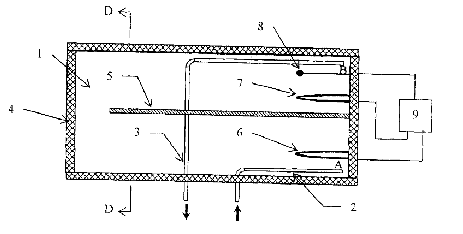
一种横置容积式节能电热水器,包括外壳、内胆,与内胆组合的冷水输入管和热水输出管,安装在内胆中的温度传感器和加热元件,与温度传感器、加热元件连接的加热控制器。内胆中设置有阻断冷热水之间直接掺混的隔板,隔板的一端和两侧面与内胆连接,隔板的另一端与内胆的端面有一间距,该间距为冷水进入热水区的通道;冷水输入管插入内胆中的管体位于内胆的底部,其冷水出口朝向并贴近连接有隔板的内胆端面;热水输出管插入内胆中的管体位于内胆的顶部,其热水进口朝向并贴近连接有隔板的内胆端面。此种电热水器不仅降低了内胆中冷水与热水的掺混程度,而且有效解决了冷水输入管的出水口与热水输出管的进水口之间的短流问题。

联系电话:028-87659663 028-85404682 028-85460925 邮箱:cdjz617@126.com
办公地址:四川省成都市武侯区科华街10号四川大学国家高新技术孵化平台609
成都川大技术转移集团有限公司
蜀ICP备11025552号-1
Copyright © 2007-2011 技术支持:成都网络公司-三以网络