
网站首页 > 专利信息
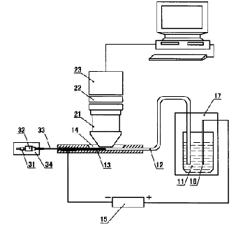
本实用新型公开了一种高效毛细管电泳仪。它由毛细管电泳装置、荧光检测器和光源系统构成,所述毛细管电泳装置包括有毛细管(12),所述光源系统包括有激发光源(31)。所述光源系统还包括有从毛细管(12)的检测端口伸入至检测窗口(14)部位的光导纤维(33),激发光源(31)所产生的激发光由该光导纤维(33)引入至其内端,照射在检测窗口(14)实现待测物质荧光激发。本实用新型的有益效果是,具有检测灵敏度高、成本低廉、背景噪音低、可选波长范围较宽、结构和操作简单的特点,为生物、医学和化学等学科提供一种经济的检测手段,适合微量和痕量物质检测,特别适合于生物样品中氨基酸、蛋白质等的检测。

联系电话:028-87659663 028-85404682 028-85460925 邮箱:cdjz617@126.com
办公地址:四川省成都市武侯区科华街10号四川大学国家高新技术孵化平台609
成都川大技术转移集团有限公司
蜀ICP备11025552号-1
Copyright © 2007-2011 技术支持:成都网络公司-三以网络