
网站首页 > 专利信息
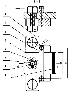
一种拉伸式杨氏模量测量仪无摩擦活动平台,主要由光杠杆支撑板、活动平台和压条组成。活动平台置于光杠杆支撑板上,活动夹头置于两者中孔中,光杠杆支撑板中孔直径比活动夹头外径(或外接圆)大10-15mm,活动平台中孔仅比活动夹头大1-2mm,活动平台上面置放压条,由两个螺钉将压条连接到光杠杆支撑板上,先调节仪器底座螺钉使活动夹头与光杠杆支撑板中孔壁无接触,再调节活动平台与活动夹头无接触后拧紧螺钉将活动平台固定在光杠杆支撑板上,这就保证了活动夹头完全不受摩擦力,同时操作也非常简单快捷。

联系电话:028-87659663 028-85404682 028-85460925 邮箱:cdjz617@126.com
办公地址:四川省成都市武侯区科华街10号四川大学国家高新技术孵化平台609
成都川大技术转移集团有限公司
蜀ICP备11025552号-1
Copyright © 2007-2011 技术支持:成都网络公司-三以网络