
网站首页 > 专利信息
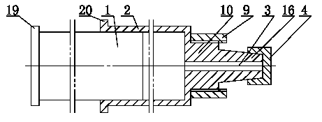
本实用新型公开了一种药液的活塞式输送容器,主要由活塞杆(1)、活塞缸(2)和输出管组成,其输出管主要由管嘴(16)和对接固定端构成,输出管的内部制有与活塞缸(2)内部空间连通的内孔(3),所述管嘴(16)的形状为圆柱体或圆锥体、圆弧形体、球体,在管嘴(16)上连接有密封件,在对接固定端上连接有对接螺母;由于本实用新型根据药液、特别是枸橼酸药液的实际使用情况,将容积大的包装改为容积小、一次性使用的包装,从而有效地避免了药液的浪费和患者之间交叉感染的机会;又由于本实用新型很顺利地推动活塞杆(1)挤压活塞缸(2)内的药液,直接将药液排入到医疗管内,不再需要其他抽取工具,因而使用起来非常方便。

联系电话:028-87659663 028-85404682 028-85460925 邮箱:cdjz617@126.com
办公地址:四川省成都市武侯区科华街10号四川大学国家高新技术孵化平台609
成都川大技术转移集团有限公司
蜀ICP备11025552号-1
Copyright © 2007-2011 技术支持:成都网络公司-三以网络