
网站首页 > 专利信息
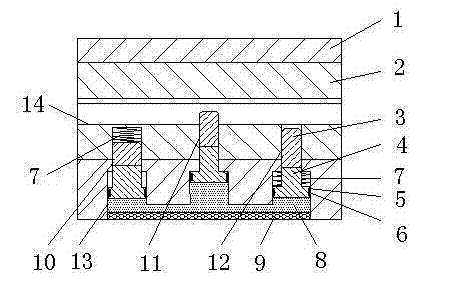
一种液压弹子锁,主要包括锁体、锁芯、普通弹子、液压弹子、复位弹簧、液压油和密封片。锁体和锁芯径向对应位置开有三组或三的倍数组弹子孔,以三组弹子孔为一个单元,左端弹子孔为盲孔,中间和右端弹子孔为通孔,盲孔直径比通孔大1~2mm,三组弹子孔与锁体的型腔相连通,且型腔底部相连通,液压油密封于型腔内,型腔上端与液压弹子动配合密封,下端与密封片过盈配合密封,左右两端弹子孔内的普通弹子部分进入锁体,中间弹子孔内的液压弹子部分进入锁芯,三组弹子限制锁芯转动。本发明部分弹子隐蔽于盲孔中,******钥匙无法触及,各弹子间依靠液压油联动,靠单一拨动某弹子的方法无法开锁,能有效防止******钥匙的技术开启。
联系电话:028-87659663 028-85404682 028-85460925 邮箱:cdjz617@126.com
办公地址:四川省成都市武侯区科华街10号四川大学国家高新技术孵化平台609
成都川大技术转移集团有限公司
蜀ICP备11025552号-1
Copyright © 2007-2011 技术支持:成都网络公司-三以网络