
网站首页 > 专利信息
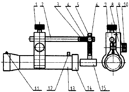
望远镜激光导向调焦装置,它主要由左连接爪、右连接爪、横杆、竖杆和半导体激光器等组成。所述半导体激光器放置在望远镜目镜前端,调节半导体激光器发出的激光束穿过望远镜射向远处的平面镜后反射到标尺上,再调节光斑在标尺上成一个小斑点,这就实现了望远镜激光导向和调焦功能。在可见的激光束引导下,望远镜光轴在对准平面镜、对准标尺(像)以及调节焦距等操作都变得很直观,调节起来非常容易。

联系电话:028-87659663 028-85404682 028-85460925 邮箱:cdjz617@126.com
办公地址:四川省成都市武侯区科华街10号四川大学国家高新技术孵化平台609
成都川大技术转移集团有限公司
蜀ICP备11025552号-1
Copyright © 2007-2011 技术支持:成都网络公司-三以网络